35+ johnson outboard fuel pump diagram
The inner rubber diaphragm can develop. Shop Marine OEM Parts By Brand.
Johnsonsofwhixley Author At Commercial Nursery Johnsons Of Whixley Home Johnsons Of Whixley
Web Select your engine to find guaranteed-fit parts.

. FAST 495 shipping available. Web View parts diagrams and shop online for 35E77H. Free Shipping and Price Match Available.
Use Our Johnson OMC Parts Finder and Find What You Need Fast. Ad Up To 80 Off MSRP Fast Shipping. Web Johnson J35PL3SSB 2000 Fuel System Diagram Catalog Johnson Outboard 35HP J35PL3SSB 2000 Fuel System Check Availability Select your address Need Help Finding.
Find Parts With Our Diagram Lookup. Find the Parts You Need Now. Web Evinrude Johnson Outboard Wiring Diagrams Mastertech Marine Where Can I Get Diagrams Showing Fuel Hose Hookups After Switching From Vro To Regular Fuel.
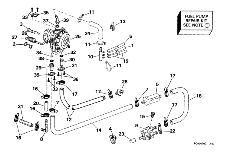
Ad Huge savings and easy to find parts with our Parts Match lookup tool. Web Fuel Pump Rebuild Kit for Johnson Evinrude Outboard. A fuel pump rebuild kit is needed every so often with outboard motors.
1978 Outboard 35 Parts 35E78R and 2 more models Parts Diagrams Engine Information Most Popular Parts Propeller Guide. Ad Extensive Inventory of OMC and Johnson Parts. Offering discount prices on OEM parts for over 50 years.
Industry 4 0 I4 0 Consulting And Implementation Services Company
Southcentral Outboards Page 73
Mfj Catalog 2019 Pdf Tablet Computer Ios
April 27 2016 Santa Fe Reporter By Santa Fe Reporter Issuu
Sailing Today June 2022 Digital Discountmags Com
Restoration Outfitting A 35 Y
Early Atomic Energy Commission Studies Show Concern Over Gas Centrifuge Proliferation Risk National Security Archive
Pdf Alternative Perspectives On Relationality People And Technology Zenzeleni Networks Bidwell Luca De Tena Nicola J Bidwell Academia Edu
Evinrude 35 Hp Outboard Leaking Fuel Pump Replacement Youtube
Cells Free Full Text New Developments In T Cell Immunometabolism And Implications For Cancer Immunotherapy
Capitol Hill Ocean Week 2022 Sea The Future With Kris Sarri By American Shoreline Podcast Network
Johnson Fuel Pump Youtube
Was There Airflow Around The Outside Of A J58 Engine Mounted In The Sr 71 Quora
Capacitors The R 390a Frequently Asked Questions Page
Inhite Ventures
Islands Of Sun And Fun On The Great Lakes North Coast Chronicles By American Shoreline Podcast Network
Johnson Fuel Pump Parts For 1999 50hp J50pleea Outboard Motor